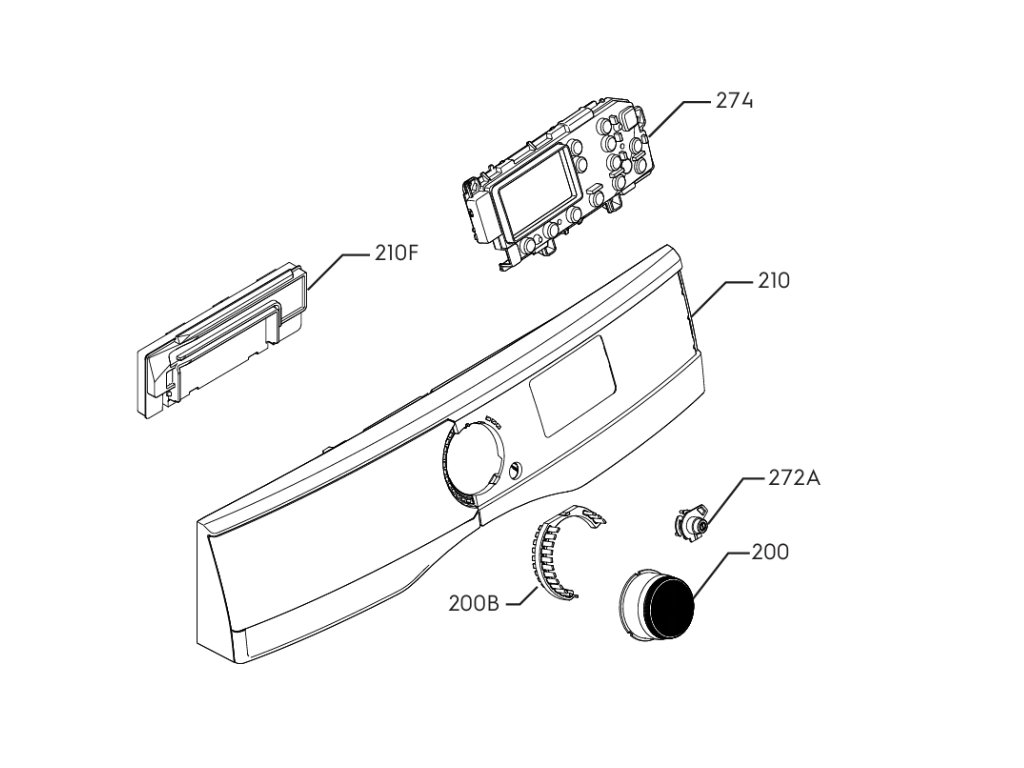
Ovladací panel práčky AEG 140243091034
Kód: 140243091034Podrobný popis
Čelo násypky je určené pre práčky:
| PNC | Model | |
| 914500716 | LFR73944SVC | |
| 914500716 | LFR73944SVC | |
| 914500716 | LFR73944SVC | |
| 914501610 | LFR73944VC | |
| 914501610 | LFR73944VC | |
| 914501612 | LFR73964VC | |
| 914501612 | LFR73964VC | |
| 914501612 | LFR73964VC | |
| 914501648 | LFR73944NOC |
Dodatočné parametre
| Kategória: | Náhradné diely |
|---|---|
| EAN: | 7321424833665 |
Buďte prvý, kto napíše príspevok k tejto položke.
Pridať komentár
